产品中心
bw必威西汉姆联官方网站FULETEST技术团队拥有二十年以上的行业经验,随时为用户提供专业解决方案!产品参数
产品详情
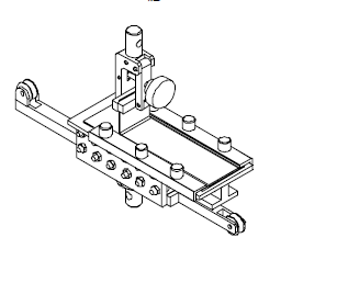
粘合剂剥离夹具用于粘合剂的90度剥离试验。
试验机:剥离试验机
夹持方式:手动夹持
使用温度:常温或高低温.
2026-04-16
2026-04-15
2026-04-08
2026-03-23
推荐产品
400 660 2520
业务咨询
手机网站
版权所有 © Betway·必威(西汉姆联)官方网站|West Ham United2026 All Rights Reseved 备案号:沪ICP备19008887号-2
技术支持:化工仪器网 管理登陆 Sitemap.xml





